股市爆料同學會

  • 討論
    • 股市討論
    • 熱門同學討論
    • 社團討論
    • 追蹤同學討論
    • 自選股討論
    • 專欄討論
    • 熱門同學
    • 期股多空雙飆客
    • 秦暢秋
    • 🍀超認真墨叔🥸
    • 單押王/產業分析師
    • Kewei
    • 大家都在看
      • 華新
      星期四 17:06
      請問目標價是多少?
      • 加權指數
      星期四 15:20
      群創有機會像長榮半年多從2X漲到23X嗎
      • 金寶
      星期四 17:58
      漲這麼多天了,明天會跟可寧衛一樣跌停嗎?
  • 台股
    • 台股
    • 加權指數
    • 櫃買指數
    • 類股
    • 概念股
    • 期貨
    • 台指期
    • 小台指期
    • 電子期貨
    • 金融期貨
    • 台股排行
    • 行情排行
    • 法人排行
    • 資券排行
    • 基本面排行
    • 熱門股票
    • 可寧衛*(8422)
    • 台積電(2330)
    • 長興(1717)
    • 國巨*(2327)
    • 鴻海(2317)
  • 美股
    • 熱門美股
    • MU 美光科技
    • ONDS Ondas
    • TSM 台積電
    • NVDA 輝達
    • AAPL 蘋果
  • ETF
    • ETF專區
    • 0050 元大台灣50
    • 00878 國泰永續高股息
    • 0056 元大高股息
    • 00919 群益台灣精選高息
    • 006208 富邦台50
  • 基金
    • 基金首頁
    • Top 50 基金績效排名
    • 安聯台灣科技基金
    • 統一奔騰基金
    • 野村優質基金-TISA類型新臺幣計價
    • 安聯台灣大壩基金-A類型-新臺幣
  • 掃描立即下載
    掃描立即下載
  • 討論
  • 台股
  • 美股
  • ETF
  • 基金
  • 自選
  • 股市討論
  • 熱門同學討論
  • 社團討論
  • 追蹤同學討論
  • 自選股討論
  • 專欄討論
  • 熱門同學
  • 我的通知
  • 我的自選
  • 社團
  • 收藏
  • 動態牆
  • 創作者計畫
  • 股市爆料同學會
  • 首頁
  • 長榮
  • 文章
發文者頭像

鴻🐰大展

發文者徽章

好奇同學

Lv.14
2024年12月23日 14:57
已置頂
  • 長榮

    長榮相關討論
    • 匿名頭像
      匿名
      6小時前
      置頂精選文章
      • 長榮
    • 發文者頭像
      馬哥rr
      發文者徽章

      好奇同學

      Lv.46
      5小時前
      置頂精選文章
      • 長榮
    • 發文者頭像
      J's888
      發文者徽章

      超級幫手

      Lv.16
      3小時前
      置頂精選文章
      • 長榮

      00940你真的是皮癢

    • 發文者頭像
      秦暢秋
      發文者徽章

      專欄作家

      Lv.69
      20小時前.已編輯
      置頂精選文章
      • 長榮

      台灣唯一不配息的ETF 009816,值不值得買?

    • 發文者頭像
      長期投資人,短期投機人
      發文者徽章

      求知若渴

      Lv.20
      4小時前
      置頂精選文章
      • 長榮

      長榮的日常:投信續持賣

    鴻🐰大展
    LV.14
    ・
    • 發文
      14
    • 粉絲
      25

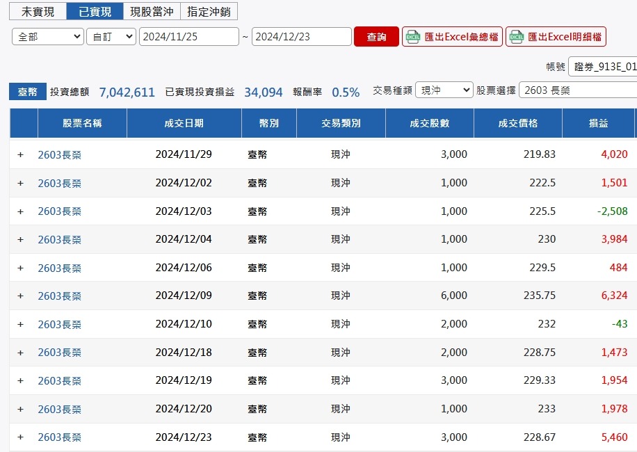
    長榮

    2603

    195

    1 (+0.52%)

    最新時事
    • 10 小時前 投資網誌

      【美股焦點】伊朗供給疑慮拉警報,能源股逆勢撐盤!

    • 6 天前 投資網誌

      【即時新聞】長榮今日公告12月營收月增11%重返300億元大關

    • 01月08日 投資網誌

      【即時新聞】最新長榮12月營收307億月增逾11%且連續兩個月成長

    • 01月02日 投資網誌

      【即時新聞】長榮元月運價喊漲四成,投信連八買卡位押寶行情

    • 01月02日 投資網誌

      【即時新聞】投信連八買長榮押寶運價漲勢,元月GRI推升歐洲線運價四成

    看更多新聞